Dual Core MIPS Instruction Set Processor
|
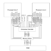
Overview This project was completed for a computer architecture course at Purdue University. VHDL was used to design a dual core, pipelined, MIPS instruction set processor. I completed this project with one other partner. More information can be found in the report below |
|
|||
|
Project Documents Final Report - This is the final report that was written for this project. It contains detailed information about the processor. | ||||
|
Pictures
|
||||
